登录  免费注册

数字工信服务平台

一种钢管放置切割装置

发布时间:2018-05-23 08:52
  • 专利类型:发明专利
  • 日期 :2018-05-23 08:52
  • 专利名称:一种钢管放置切割装置
  • 专利权人 : 匿名
  • 联系电话 :2110568

交易价格(万元):面谈

专利详情

专利类别 :发明专利 专利号 : CN201610277025.5 申请日期 : 2016-04-30 10:00
公开日期 : 专利名称 : 一种钢管放置切割装置 专利权人 :匿名
国际分类号: 暂无 范畴分类号 : 暂无 行业分类 : 暂无
详情介绍:

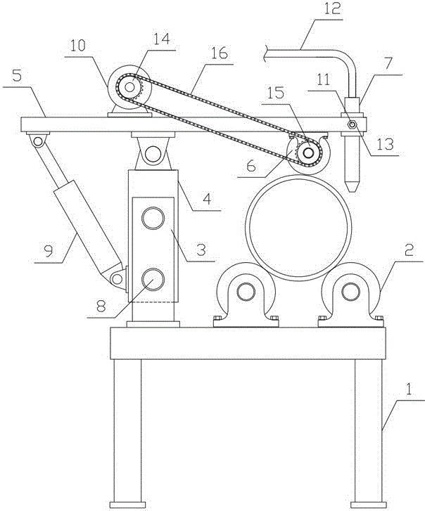
本发明公开了一种钢管放置切割装置,属于机械加工设备领域。该发明包括固定支架、承管轮、平移支架、平移板、转动板、压管轮和切割机头,固定支架上方一侧沿水平方向竖直转动连接有多组承管轮,平移支架上水平设置有两根平移导向杆,平移板可沿平移导向杆水平进行移动,转动板下侧中部与平移板上侧铰连接,转动板一端与平移板之间设置有切割液压缸,转动板另一端下侧水平转动连接有压管轮,转管电机和压管轮之间传动连接,转动板一端水平转动连接有调节丝杆,切割机头设置在调节丝杆一端,切割机头上端连通有气体导管。本发明结构设计合理,可以快速高效的将多种尺寸规格的钢管根据需要进行切割,满足生产使用的需要。

服务流程

服务流程

买方卖方

身份 买家提供 卖家提供 交易服务 过户后您将会获得
企业

企业申请

执照

企业营业执照

组织机构代码证

执照

企业营业执照

专利证书证件

专利代理委托书
专利权转让协议
办理文件副本请求书
发明人变更声明

专利委托书

手续合格通知书

专利登记薄副本

个人

个人申请

身份

身份证

执照

身份证

专利证书证件

服务承诺

  • 证明

    确保拿到
    核准专利转让证明

  • 证明

    确保拿到
    转让受理通知书

  • 证明

    专利转让
    全程监控

  • 证明

    专利转让完成
    享受专利最低待遇

  • 证明

    免费客服热线
    快速回复客户问题

联系电话:0372-2110568

传真:0372-2110568

地址:河南省安阳市高新区弦歌大道与峨嵋大街交叉口向东100米路南科创大厦

www.ayipx.cn 版权所有 严禁转载!豫ICP备17028958号 公网安备 41050202000126 河南相映红信息技术有限公司 【后台管理】

0372-2110568