登录  免费注册

数字工信服务平台

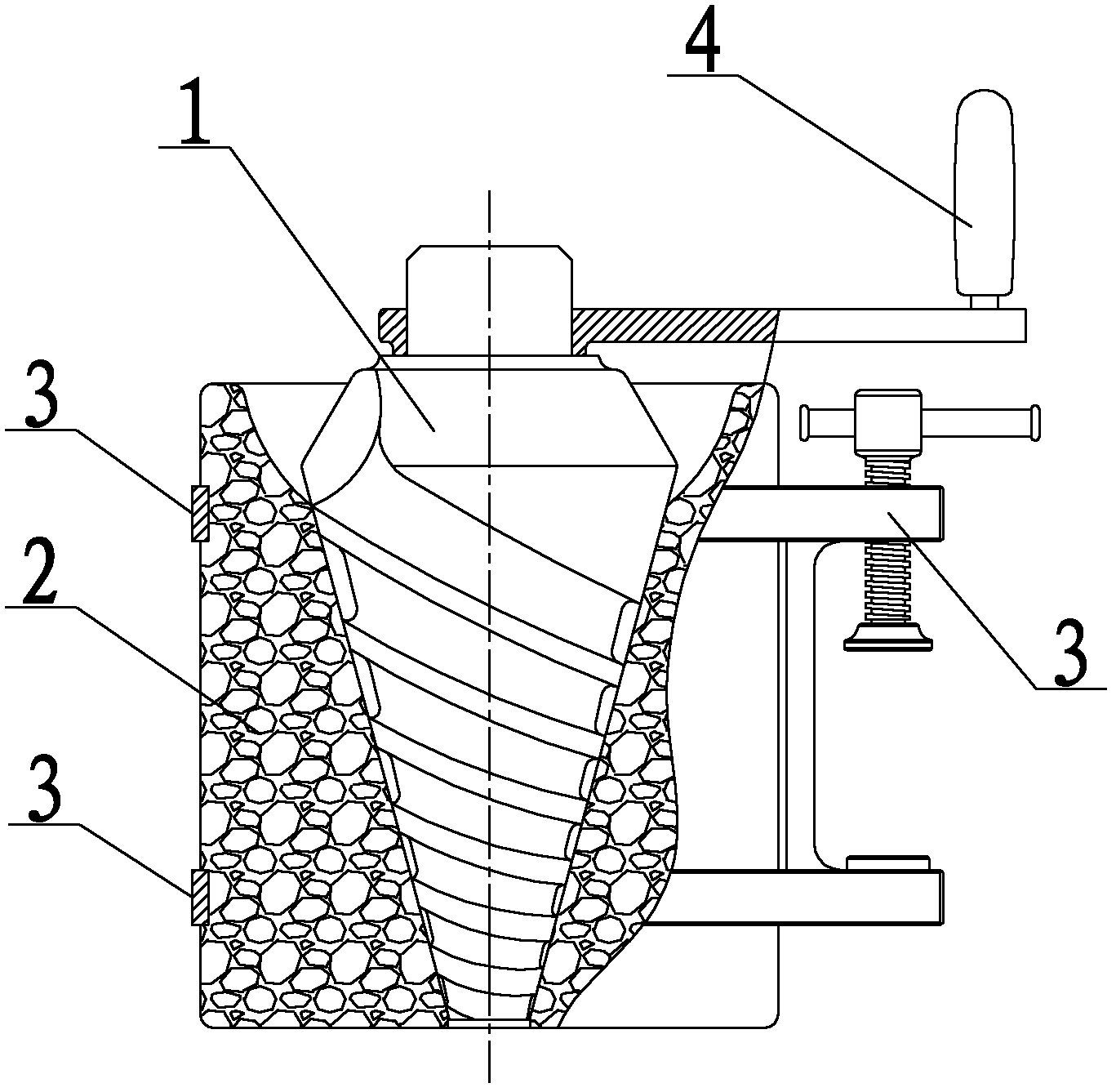
锥轴、套配合式石磨

发布时间:2018-06-20 10:06
  • 专利类型:发明专利
  • 日期 :2018-06-20 10:06
  • 专利名称:锥轴、套配合式石磨
  • 专利权人 : 匿名
  • 联系电话 :0372-2110568

交易价格(万元):面谈

专利详情

专利类别 :发明专利 专利号 : CN201210084822.3 申请日期 : 2012-03-32708:00
公开日期 : 专利名称 : 锥轴、套配合式石磨 专利权人 :匿名
国际分类号: 暂无 范畴分类号 : 暂无 行业分类 : 暂无
详情介绍:

本发明公开一种锥轴、套配合式石磨,天然石料的锥轴扇或锥套扇其圆锥面上一条或多条螺旋状纹理槽自上而下环圆均布、该纹理槽沿螺旋从上端开口至尾端出口循序渐进的形成上大下小并上深下浅之状,锥轴扇和锥套扇同锥度结合,可通过手工推转锥轴扇或通过电机传动锥套扇旋转,物料从锥轴、套扇间的纹理槽剁口被旋进入并沿螺旋状纹理槽运移过程而被磨碎形成粉末或浆;本结构利用石材的天然品质、应用锥度轴、套的配合性能的优势、使其接合面积倍增、因而对食料的研磨行程增大,得以达到被磨食料细润而口感佳;锥轴、套配合式石磨的体积小、使用也方便不费力、无噪声,不涉及金属物及润滑油脂,是一种安全的食品加工器具,很适合居家和食品企业的使用。

服务流程

服务流程

买方卖方

身份 买家提供 卖家提供 交易服务 过户后您将会获得
企业

企业申请

执照

企业营业执照

组织机构代码证

执照

企业营业执照

专利证书证件

专利代理委托书
专利权转让协议
办理文件副本请求书
发明人变更声明

专利委托书

手续合格通知书

专利登记薄副本

个人

个人申请

身份

身份证

执照

身份证

专利证书证件

服务承诺

  • 证明

    确保拿到
    核准专利转让证明

  • 证明

    确保拿到
    转让受理通知书

  • 证明

    专利转让
    全程监控

  • 证明

    专利转让完成
    享受专利最低待遇

  • 证明

    免费客服热线
    快速回复客户问题

联系电话:0372-2110568

传真:0372-2110568

地址:河南省安阳市高新区弦歌大道与峨嵋大街交叉口向东100米路南科创大厦

www.ayipx.cn 版权所有 严禁转载!豫ICP备17028958号 公网安备 41050202000126 河南相映红信息技术有限公司 【后台管理】

0372-2110568