登录  免费注册

数字工信服务平台

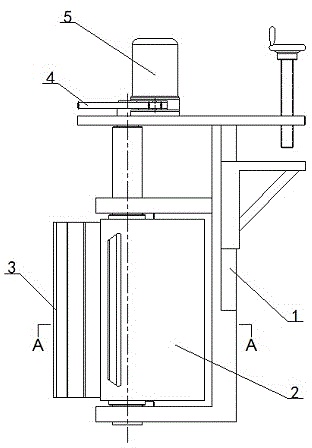
潮汐涌流漩涡轮发电机

发布时间:2018-06-20 10:00
  • 专利类型:发明专利
  • 日期 :2018-06-20 10:00
  • 专利名称:潮汐涌流漩涡轮发电机
  • 专利权人 : 匿名
  • 联系电话 :0372-2110568

交易价格(万元):面谈

专利详情

专利类别 :发明专利 专利号 : CN201310619829.5 申请日期 : 2013-11-29 00:00
公开日期 : 专利名称 : 潮汐涌流漩涡轮发电机 专利权人 :匿名
国际分类号: 暂无 范畴分类号 : 暂无 行业分类 : 暂无
详情介绍:

本发明公开一种利用海洋、冮河的潮汐之涌流作为动力的潮汐涌流漩涡轮发电机,其特征在于:机架上设置的设有流向标舵的优弧漩涡套圈中套置叶轮,潮汐动力冲击叶轮的叶片则叶轮旋转,漩涡套圈上流向标舵顺潮汐流向变化则漩涡套圈的弧开口朝向改变,但漩涡叶轮的转向不改变,相对的漩涡套圈中水流由于叶轮的旋转而形成漩涡流势能,其致叶轮转速加剧,叶轮的转动经传动致台架面上的发电机发电;潮汐涌流漩涡轮发电机提供绿色电力供给海洋或江河的水产养殖业和捕捞作业、运输等鱼排或船泊生产、生活和照明用电,本发明具有较大实用价值。

服务流程

服务流程

买方卖方

身份 买家提供 卖家提供 交易服务 过户后您将会获得
企业

企业申请

执照

企业营业执照

组织机构代码证

执照

企业营业执照

专利证书证件

专利代理委托书
专利权转让协议
办理文件副本请求书
发明人变更声明

专利委托书

手续合格通知书

专利登记薄副本

个人

个人申请

身份

身份证

执照

身份证

专利证书证件

服务承诺

  • 证明

    确保拿到
    核准专利转让证明

  • 证明

    确保拿到
    转让受理通知书

  • 证明

    专利转让
    全程监控

  • 证明

    专利转让完成
    享受专利最低待遇

  • 证明

    免费客服热线
    快速回复客户问题

联系电话:0372-2110568

传真:0372-2110568

地址:河南省安阳市高新区弦歌大道与峨嵋大街交叉口向东100米路南科创大厦

www.ayipx.cn 版权所有 严禁转载!豫ICP备17028958号 公网安备 41050202000126 河南相映红信息技术有限公司 【后台管理】

0372-2110568